CPVC Ball Valve
A CPVC ball valve is a flow control device that operates using a spherical ball with a hole (also known as a bore) through the middle. When the valve handle is turned, the ball rotates to align the bore with the flow path—allowing fluid to pass through. When turned 90 degrees, the solid side of the ball blocks the flow entirely, creating an airtight seal. By convention, the handle lies flat in alignment with the flow when open and is perpendicular to it when closed, making for easy visual confirmation of the valve’s status. The shut position 1/4 turn could be in either a clockwise or counter-clockwise direction.
CPVC ball valves are durable, performing well after many cycles, and reliable, closing securely even after long periods of disuse. These qualities make them an excellent choice for shutoff and control applications, where they are often preferred to gates and globe valves, but they lack the fine control of those alternatives in throttling applications.
- Chemical Resistance
- Low Maintenance Requirement
- Low Thermal Conductivity
- Long Service Life
- Easy Installation
- Corrosion Resistance
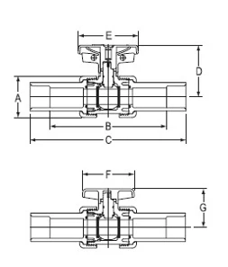
CPVC Ball Valve Details
A: Body Diameter
B: Face-to-Face Distance
C: Total Length
D: Total Height
E: Handle Length / Diameter
F: Handle Hub / Nut Width
G: Center-to-Stem Height
| Size | A ±1/16 | B ±1/16 | C ±1/16 | D ±1/16 | E ±1/16 | F ±1/16 | G ±1/16 |
| 1/2 | 1-7/8 | 4-15/16 | 6-11/16 | 2-9/16 | 2-13/16 | 2-1/2 | 1-5/8 |
| 3/4 | 2-1/4 | 5-7/16 | 7-1/2 | 2-7/8 | 3-3/8 | 3 | 2 |
| 1 | 2-1/2 | 6-1/16 | 8-5/16 | 3-1/8 | 3-7/16 | 3-7/16 | 2-5/16 |
| 1-1/4 | 3-1/16 | 7-5/16 | 9-7/8 | 3-5/8 | 3-7/8 | 3-9/16 | 2-13/16 |
| 1-1/2 | 3-1/2 | 7-1/2 | 10-5/16 | 4 | 4-3/16 | 3-7/8 | 3-1/16 |
| 2 | 4-1/4 | 8-1/2 | 11-1/2 | 4-1/2 | 5-1/8 | 5 | 3-3/4 |
| 2-1/2 | 6-3/16 | 10-7/8 | 14-3/8 | 5-7/8 | 7-5/8 | 7-5/16 | 5-7/8 |
| 3 | 6-3/16 | 11-1/2 | 15-3/16 | 5-7/8 | 7-5/8 | 7-5/16 | 5-7/8 |
| 4 | 7-5/8 | 14-3/8 | 18-15/16 | 6-3/4 | 9 | 8-3/8 | 6-3/4 |
| Parameter | Specification |
| Material | CPVC (Chlorinated Polyvinyl Chloride) |
| Valve Type | Ball Valve (2-way shut-off) |
| Size Range | ½” to 4” (15 mm to 100 mm) |
| End Connection | Socket / Threaded (BSP / NPT) / Flanged |
| Pressure Rating | Up to 10–16 bar (depending on size & temperature) |
| Temperature Range | 0°C to 90°C |
| Operation | Manual lever / Actuated (optional) |
| Ball Type | Floating ball design |
| Sealing | PTFE seats & EPDM / FKM O-rings |
| Bore Type | Full bore / Reduced bore |
| Flow Direction | Bi-directional |
| Standards | ASTM D1784, ASTM F1970 |
| Installation | Solvent cement / threaded / flanged |
| Maintenance | Low maintenance, serviceable design |
| Density | 1.50 – 1.60 g/cm³ |
| Tensile Strength | 50 – 70 MPa |
| Impact Strength | High (better than PVC) |
| Hardness | Rockwell R 110 – 120 |
| Thermal Conductivity | ~0.14 W/m·K |
| Coefficient of Thermal Expansion | 6.7 × 10⁻⁵ /°C |
| Vicat Softening Temperature | ~110°C |
| Water Absorption | < 0.1% |
| Chemical Resistance | Excellent (acids, alkalis, salts) |
| Corrosion Resistance | Non-corrosive |
| Electrical Insulation | Excellent |
1. Full Bore (Full Port) Design
- Allows maximum flow capacity
- Minimal pressure drop
- Efficient system performance
2. Quarter-Turn Operation
- 90° handle rotation for quick open/close
- Easy and fast operation
- Clear visual indication of valve position
3. High Temperature Resistance
- Suitable for continuous operation up to 93°C
- Ideal for hot water and industrial process applications
4. Excellent Corrosion & Chemical Resistance
- Resistant to rust, scale, and galvanic corrosion
- Compatible with a wide range of chemicals
5. Leak-Tight Sealing
- PTFE seats provide bubble-tight shutoff
- Reliable isolation of flow
6. Lightweight Construction
- Much lighter than metal valves
- Easy handling and faster installation
7. Multiple End Connections
- Available in socket, threaded, union, and flanged ends
- Easy integration with different piping systems
8. Low Operating Torque
- Smooth operation even after long service
- Reduced wear on stem and seats
9. Non-Conductive & Non-Magnetic
- Electrically insulating
- Safe for chemical and industrial environments
10. Low Maintenance
- No corrosion-related maintenance
- Long service life with minimal servicing
11. Compact Design
- Space-saving installation
- Suitable for tight piping layouts
12. Compliance with Standards
- Manufactured as per ASTM, ISO, and NSF standards
- Suitable for potable water and industrial use
1. Pressure Rating at 23 °C (Ambient Temperature)
| Valve Size | Nominal Size (DN) | Pressure Rating |
| ½” – 2″ | DN15 – DN50 | 16 bar (PN16) |
| 2½” – 4″ | DN65 – DN100 | 10 bar (PN10) |
2. Pressure–Temperature Derating Table (Typical for CPVC)
| Temperature (°C) | Derating Factor | PN16 Valve (bar) | PN10 Valve (bar) |
| 23 | 1.00 | 16.0 | 10.0 |
| 40 | 0.80 | 12.8 | 8.0 |
| 60 | 0.63 | 10.1 | 6.3 |
| 80 | 0.50 | 8.0 | 5.0 |
| 93 (Max) | 0.40 | 6.4 | 4.0 |
3. Pressure Rating (ASTM / PSI Reference)
| Valve Size | Pressure Rating (psi) |
| ½” – 2″ | 235 psi |
| 2½” – 4″ | 150 psi |
- Full bore for maximum flow rate at minimum pressure drop
- A reliably tight shut-off and a high pressure capability with optimised balls and robust materials – also available for heavy-duty applications
- Blowout-proof shaft
- Excellent automation options
- Low maintenance and a long service life
- Anti-static design prevents electrostatic charging during operation
- Highly suitable for pigging
- Large range of dimensions and good lining options

Custom Product Manufacturing Available
If you are searching for customized product designs that meet your requirements, don’t worry. Petron Thermoplast also offers custom product manufacturing services to meet the unique needs of various industries. Work with our expert engineers to create custom designs suited for your application.
Type of CPVC Ball Valve
Standard Port CPVC Ball Valve
These types of Cpvc ball valves have smaller ball and port than the full port ball valves. This valve has a low cost. However, the fluid flow in this valve is somewhat restricted due to the size of the pipe.
V Port CPVC Ball Valve
The “V” in a V-port valve denotes the ball design or design of the seat. This type of valve gives you more control to efficiently open and close the fluid flow. It has an almost linear flow.
Multi-Port CPVC Ball Valves
It has 3 or 4 directions with an L or T-shaped hole in the middle of the valve. A T-shaped valve has the ability to connect any pair of ports. The L-shaped valve can link the middle port to the side port.
Reduced Port CPVC Ball Valve
The reduced port cpvc ball valves are also called RB or reduced bore valves. In this valve, the flow area is less than the pipe, and the fluid flowing by the valve is one pipe size less than the pipe size of the valve. The reduced-port valve causes a pressure loss in the pipeline.
Full Port CPVC Ball Valve
These valves have more cost than other types of ball valves. The oversized balls in full-bore ball valves reduce friction drop because the hole in these ball valves has a similar size to the pipe. Therefore, it has more size than other valves, but it does not limit the flow rate.
Single Body or One-Piece CPVC Ball Valve
This type of ball valve has a solid cast body to reduce leaking issues. The body of this valve is not divided into pieces like split pieces valves.
Two-Piece CPVC Ball Valve
The body of the two-piece ball valve is divided into two pieces; one piece contains one end joint and body, the second piece is attached to the 1st piece, fixes the trim in its position, and also contains the second end joint.
Three Piece CPVC Ball Valve
The body of this valve is divided into three parts (i.e., a body and two end caps)—all of these parts are connected to each other via bolt connection. The design of the three-piece valve ensures easy removal of the central valve part (the part containing the seat, stem, and ball) from the pipe.
Top Entry CPVC Valve
It is a type of ball valve that assembles the ball from its top side part. This design allows the seats and ball to be maintained without valve removal from the pipeline. It is best suitable for large systems. You can also clean it without removing it from the pipeline.
Two-Piece CPVC Ball Valve
The body of the two-piece ball valve is divided into two pieces; one piece contains one end joint and body, the second piece is attached to the 1st piece, fixes the trim in its position, and also contains the second end joint.
Connections of CPVC Ball Valve
Socket (Solvent Cement) Connection
- Standard: ASTM F439 / ASTM D2467
- Description: Valve ends are solvent-cemented to CPVC pipe
- Advantages:
- Strong, leak-proof joint
- Compact and cost-effective
Typical Use: Permanent installations, water supply, chemical lines
Threaded Connection (BSP / NPT)
- Standard:
- NPT – ANSI / ASTM
- BSP – ISO 7 / ISO 228
- Description: Female or male threaded ends
- Advantages:
- Easy removal and replacement
- No solvent cement required
Typical Use: Maintenance-friendly systems, equipment connections
True Union Connection
- Standard: Manufacturer-specific (ASTM-based)
- Description: Union nuts on both sides allow valve removal without cutting pipe
- Advantages:
- Easy maintenance and replacement
- Minimal downtime
- Typical Use: Chemical plants, water treatment, critical process lines
Why Choose Petron Thermoplast?
As we know, multiple suppliers can slow down your project and increase costs. That’s why we offer a full range of CPVC ball valves to ensure you have everything that you need, all from a single source. Whether you’re working on a small piping system project or a large-scale commercial development, we can tailor a package that fits your exact requirements, saving your time and simplifying your supply chain.
