CPVC Y Strainer
The CPVC Y strainer, unsung hero of industrial filtration, describes alloy and non-alloy Y strainer designs, typical applications they are used for, and considerations for determining whether a strainer would be a better choice for your application. Fluid enters a CPVC Y strainer and passes through a cylindrical element separating debris at a level determined by the openings within the element. The separated material resides within the element chamber until it is removed for cleaning. Alternatively, a valve is attached to the element cover. When opened, the trapped material is quickly flushed from the chamber due to the differential pressure of the process fluid and atmospheric pressure.
Some strainers also include blow-off valves that make cleaning easier in applications with more substantial dirt. A CPVC Y strainer is a type of mechanical filter used in pipelines to remove unwanted solids from liquids, gases, or steam. It is named for its Y-shaped design, which allows it to be installed in either horizontal or vertical pipelines. This type of CPVC Y strainer is essential in numerous fluid control applications to ensure that particles within the fluid do not negatively affect any downstream component.
- Chemical Resistance
- Low Maintenance Requirement
- Low Thermal Conductivity
- Long Service Life
- Easy Installation
- Corrosion Resistance
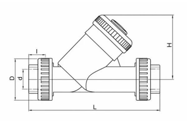
CPVC Y Strainer Details
Size: Pipe size (usually in inches).
d: External pipe diameter.
DN: Nominal Diameter (internal size)
L: Total length of the valve.
H: Total height of the valve.
I: Depth of the socket/thread.
Seal: The material used for internal sealing (e.g., FKM/Viton).
| Size | d | DN | L | H | I | Seal |
| 1/2″ | 20 | 15 | 184 | 80 | 18 | FKM |
| 3/4″ | 25 | 20 | 187 | 80 | 21 | FKM |
| 1″ | 32 | 25 | 205 | 93 | 26 | FKM |
| 1-1/2″ | 50 | 40 | 271 | 120 | 37 | FKM |
| 2″ | 63 | 50 | 305 | 143 | 37 | FKM |
| 3″ | 90 | 80 | 440 | 236 | 50 | FKM |
| 4″ | 110 | 100 | 565 | 236 | 69 | FKM |
| Parameter | Specification |
| Type | Y-Type (sediment strainer) |
| Body Material | CPVC (Chlorinated Polyvinyl Chloride) |
| Screen Material | Stainless Steel / CPVC / PP / PVDF-coated |
| Seal Material | EPDM / FKM (Viton) |
| Size Range | ½″ to 4″ (DN15–DN100) |
| End Connections | Socket (solvent weld), Threaded (BSP/NPT), Flanged |
| Operating Pressure | Up to 150 PSI (≈10 bar) at 23°C |
| Pressure Class | PN10–PN16 (depending on size) |
| Temperature Range | 0°C to 93°C (max up to ~95°C) |
| Screen Mesh Size | 20–100 mesh (customizable) |
| Installation | Horizontal (preferred) or Vertical (downward flow) |
| Standards | ASTM D1784, NSF/ANSI 61 (optional) |
| Design Feature | Y-pattern body with removable screen |
| Flow Characteristic | Low pressure drop due to angled design |
| Density | 1.45 – 1.55 g/cm³ |
| Color | Light yellow / off-white |
| Surface Finish | Smooth (low friction, anti-scaling) |
| Tensile Strength | 50 – 60 MPa |
| Flexural Strength | 80 – 95 MPa |
| Hardness | Rockwell R110 – R120 |
| Impact Resistance | High (crack-resistant) |
| Water Absorption | < 0.1% (dimensionally stable) |
| Thermal Conductivity | ~0.14 W/m·K (low heat transfer) |
| Thermal Expansion | 6–7 × 10⁻⁵ /°C |
| Electrical Property | Non-conductive (insulator) |
| Corrosion Resistance | Excellent (acids, alkalis, salts) |
| Chemical Resistance | Excellent for industrial fluids |
| UV Resistance | Moderate (UV protection recommended) |
| Flammability | Self-extinguishing (typical UL 94 V-0) |
Efficient Particle Filtration: Prevents clogging and equipment damage by trapping solids.
Corrosion-Resistant Body: CPVC construction withstands aggressive chemicals and harsh environments.
High Temperature Capability: Suitable for operations up to 93°C (200°F).
Removable Screen: Easy access for cleaning or replacement without dismantling the pipeline.
Y-Pattern Design: Provides low pressure drop and efficient flow path.
Compact & Lightweight: Space-saving installation in horizontal or vertical positions.
Multiple Connection Options: Compatible with solvent socket, threaded, or flanged ends.
Clear or Opaque Body (optional): Optional transparent screen chamber for visual inspection.
| Nominal Size (DN) | Inch Size | Pressure Rating @ 20°C | Maximum Working Pressure |
| DN15 | ½” | PN16 | 16 bar |
| DN20 | ¾” | PN16 | 16 bar |
| DN25 | 1″ | PN16 | 16 bar |
| DN32 | 1¼” | PN16 | 16 bar |
| DN40 | 1½” | PN16 | 16 bar |
| DN50 | 2″ | PN16 | 16 bar |
| DN65 | 2½” | PN10 | 10 bar |
| DN80 | 3″ | PN10 | 10 bar |
| DN100 | 4″ | PN10 | 10 bar |

Custom Product Manufacturing Available
If you are searching for customized product designs that meet your requirements, don’t worry. Petron Thermoplast also offers custom product manufacturing services to meet the unique needs of various industries. Work with our expert engineers to create custom designs suited for your application.
Benefits of CPVC Y Strainer
1. Reliable Equipment Protection
By filtering contaminants before they reach downstream equipment, CPVC Y strainers prevent premature wear and damage.
2. Reduced Maintenance Costs
Corrosion-resistant CPVC material prevents scaling and chemical degradation, reducing maintenance frequency.
3. Consistent Process Flow
Optimized internal geometry ensures stable flow and minimal pressure loss, supporting process efficiency.
4. Long-Term Durability
High-quality CPVC Y strainers maintain structural integrity and performance over long service periods.
5. Chemical Compatibility
- Resistant to a wide range of chemicals.
- Commonly used in:
- Chemical processing plants
- Industrial oil & gas systems
- Swimming pools
- Irrigation systems
6. Smooth Interior Surface
- Reduces pressure drop.
- Minimizes clogging.
- Maintains efficient flow rates.
7. Easy Maintenance
- Reduces pressure drop.
- Minimizes clogging.
- Maintains efficient flow rates.
Types of CPVC Y Strainer
1. CPVC Socket End Y-Strainer
- Connection: Socket (solvent cement)
- Features: Permanent, leak-proof joint
- Applications: Fixed pipelines, chemical lines, hot & cold water systems
2. CPVC Threaded End Y-Strainer
- Connection: BSP / NPT threaded
- Features: Easy removal and replacement
- Applications: Small-sized pipelines, maintenance-friendly systems
3. CPVC Flanged Y-Strainer
- Connection: Flanged (ANSI / DIN)
- Features: Strong connection, easy dismantling
- Applications: Large-diameter pipelines, industrial plants
4. CPVC Y-Strainer with SS Screen
- Strainer Element: Steel mesh
- Features: High strength, better filtration accuracy
- Applications: Chemical processing, high-temperature fluids
5. CPVC Y-Strainer with CPVC Screen
- Strainer Element: CPVC
- Features: Excellent chemical resistance
- Applications: Highly corrosive fluids
6. CPVC Y-Strainer with Blow-Off / Drain Plug
- Additional Feature: Drain plug at the bottom
- Features: Easy cleaning without dismantling
- Applications: Continuous operation systems
7. CPVC High-Pressure Y-Strainer
- Pressure Rating: PN16
- Features: Reinforced body design
- Applications: Pump discharge lines, high-pressure systems
8. CPVC Fine Mesh Y-Strainer
- Mesh Size: 40 / 60 / 80 / 100 mesh
- Features: High filtration efficiency
- Applications: Instrumentation protection, dosing systems.
Featured List of Applications
Process Industry
High purity applications
Electronic Industry
Electrical Industry
Semi-conductors industry
Pharmaceutical Industry
Solar power panels
Sugar Industry
Paper & pulp Industry
Nuclear power industry
Automotive Industry
DI water plants
Why Choose Petron Thermoplast?
In modern piping engineering, double-joint CPVC Y strainers have become a standard feature in oil, gas treatment, chemical, and industrial fluid systems. Petron Thermoplast is a trusted manufacturer and supplier of CPVC Y Strainers designed for reliable flow control, corrosion resistance, and long-term performance in industrial and utility piping systems. Our CPVC Y strainers combine quality materials, precision engineering, and practical design to meet diverse application needs.
