PVDF Non Return Valve (NRV)
A PVDF Non Return Valve (NRV) is a one way valve made from PVDF (Polyvinylidene Fluoride) that allows fluid to flow in only one direction and automatically prevents backflow and is also called the Check valve. They protect pumps, pipelines, and equipment from reverse flow or fluid hammer. PVDF Non Return Valve provides excellent chemical resistance for aggressive fluids, acids, alkalis, and solvents.
The PVDF Non Return Valve (NRV) is a high-performance, corrosion-resistant valve designed to allow fluid flow in one direction while preventing backflow in piping systems. It offers excellent chemical resistance, making it ideal for aggressive chemical applications, high-purity processes, and industrial installations requiring durability and safety.
- Chemical Resistance
- Low Maintenance Requirement
- Low Thermal Conductivity
- Long Service Life
- Easy Installation
- Corrosion Resistance
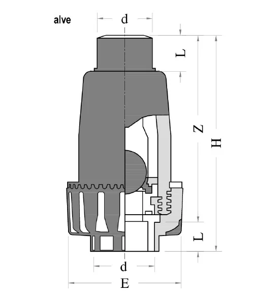
PVDF Non Return Valve (NRV) Details
d – Outer Diameter of Pipe (mm)
DN – Nominal Diameter
PN – Pressure Nominal (Bar)
E – Flange Thickness / End Thickness (mm)
H – Overall Height (mm)
L – Length of Socket or Hub (mm)
Z – Center-to-End Distance (mm)
| d (DN) | d (inch) | PN | D (mm) | L (mm) | t (mm) | H (mm) |
| 20 | 1/2″ | 16 | 54 | 104 | 16 | 88 |
| 25 | 3/4″ | 16 | 65 | 125 | 19 | 106 |
| 32 | 1″ | 16 | 74 | 148 | 22 | 126 |
| 40 | 1 1/4″ | 16 | 86 | 171 | 26 | 145 |
| 50 | 1 1/2″ | 16 | 98 | 189 | 31 | 158 |
| 63 | 2″ | 16 | 119 | 222 | 38 | 184 |
| Specification | Typical Value / Description |
| Valve Type | Non‑Return Valve (Check Valve) – allows flow in one direction only |
| Body Material | PVDF (Polyvinylidene Fluoride) – corrosion‑resistant thermoplastic |
| Seal / Internal Materials | Elastomer seals such as EPDM, FKM (Viton), or PTFE |
| Internal Mechanism Type | Swing type / spring‑assisted / lift check / diaphragm check |
| Available Sizes | ½″ – 6″ (DN15 to DN150) typical |
| Connection Types | Socket weld, Threaded (BSP / NPT), Flanged |
| Pressure Rating | Up to 150 PSI (≈ 10 bar) standard |
| Temperature Range | ~‑40 °C to +140 °C / +120 °C (dependent on sealing material) |
| Flow Direction | Unidirectional – no backflow allowed |
| Cracking Pressure | Low – opens at small forward pressure |
| Standards / Design | Manufactured to common pipe standards (DIN / ASTM / ISO) |
| Body Color | Natural white / translucent thermoplastic appearance |
| Typical Installation | Horizontal (general) / Vertical depending on valve type |
| Applications | Chemical, pharma, semiconductor, water treatment |
Excellent Chemical Resistance – Suitable for highly corrosive media.
High Thermal Stability – Performs reliably at elevated temperatures.
Low Maintenance Design – Minimal wear parts with long service life.
One-Way Flow Control – Prevents reverse flow, ensuring process safety.
UV & Weather Resistant – Ideal for outdoor installations.
Compact and Lightweight – Easy to install in compact spaces.
Leak-proof Performance – Ensures secure sealing and operation.
Multiple End Connection Options – Socket, threaded, or flanged.
1️. By Valve Mechanism / Internal Design
| Type | Description | Application |
| Swing Check Valve | Flap or disc swings open with forward flow and closes with reverse flow. | Medium flow pipelines, general chemical lines |
| Lift Check Valve | Disc lifts vertically off the seat to allow flow; gravity or spring closes valve. | Higher pressure systems, vertical installations |
| Spring-Assisted Check Valve | Disc or poppet assisted by a spring to ensure faster closure. | Low-flow, low-pressure systems, prevents water hammer |
| Diaphragm Check Valve | Flexible diaphragm opens for forward flow, seals backflow. | Precise flow control, low-pressure chemical or lab systems |
2️. By Installation Orientation
| Type | Description |
| Horizontal Installation NRV | Designed to operate in horizontal pipelines. |
| Vertical Installation NRV | Can operate in vertical pipelines; may require spring-assisted design. |
3. By Connection Type
| Type | Description |
| Wafer / Lug Type | Installed between flanges; compact and lightweight. |
| Threaded / Inline Type | Simple threaded connection for small-diameter piping. |
| Flanged Type | Full flanged ends for larger diameters or higher pressure pipelines. |
4️. By Pressure / Flow Rating
| Type | Application |
| Low-Pressure NRV | Typically DN15–DN50, ≤10 bar, suitable for chemical dosing lines. |
| Medium / High-Pressure NRV | DN65–DN150, ≤6–10 bar, suitable for industrial chemical and wastewater pipelines. |
1️. Typical Working Pressure at 20°C
| Valve Size (DN) | Size (Inch) | Max. Working Pressure (Bar) | Max. Working Pressure (PSI) | Seal Material |
| DN15 – DN50 | ½” – 2″ | 10 bar | 150 psi | PTFE / FKM / EPDM |
| DN65 – DN100 | 2½” – 4″ | 6 – 10 bar | 90 – 150 psi | PTFE / FKM / EPDM |
| DN125 – DN150 | 5″ – 6″ | 6 bar | 90 psi | PTFE / FKM / EPDM |
2️ Temperature vs Pressure Derating (PVDF Material)
| Temperature (°C) | Maximum Working Pressure (Bar) |
| 20°C | 10 bar |
| 40°C | 8 bar |
| 60°C | 6 bar |
| 80°C | 4 bar |
| 100°C | 2 – 3 bar |
| 120°C (Maximum Limit) | ≤ 2 bar |

Custom Product Manufacturing Available
If you are searching for customized product designs that meet your requirements, don’t worry. Petron Thermoplast also offers custom product manufacturing services to meet the unique needs of various industries. Work with our expert engineers to create custom designs suited for your application.
Benefits of Using PVDF Non Return Valve (NRV)
1️. Excellent Chemical & Corrosion Resistance
- PVDF body resists acids, alkalis, and solvents.
- Long service life in aggressive chemical environments.
- Prevents corrosion and scaling common in metal valves.
2️. Prevents Backflow and Protects Equipment
- Stops reverse flow to protect pumps, compressors, and pipelines.
- Prevents fluid hammer and system damage.
- Ensures consistent process flow direction.
3️. Low Maintenance & Durable
- Simple design with minimal moving parts.
- Diaphragm, flap, or disc requires little maintenance.
- PVDF material reduces wear and chemical attack.
4️. Lightweight & Easy Installation
- Lighter than metal NRVs, reducing support requirements.
- Easy to handle, transport, and install in piping systems.
5️. Wide Application Range
- Suitable for chemical processing, water/wastewater systems, laboratory lines, and pharmaceutical plants.
- Can handle corrosive, aggressive, or abrasive fluids.
6️. Optional Spring-Assisted Designs
- Spring-assisted NRVs provide faster closure and lower cracking pressure.
- Suitable for vertical or low-flow installations.
Applications of PVDF Non Return Valve (NRV)
Process Industry
High Purity Applications
Electronic Industry
Electrical Industry
Semi-conductors Industry
Pharmaceutical Industry
Solar power panels
Sugar Industry
Paper & Pulp Industry
Nuclear Power Industry
Automotive Industry
DI water plants
Why Choose Petron Thermoplast?
Petron Thermoplast delivers high-performance PVDF Non Return Valves engineered for corrosive, high-purity, and continuous industrial applications. Our valves are designed to ensure reliable backflow prevention, long service life, and safe process operation in demanding environments.
Premium PVDF Material Quality
We use high-grade PVDF (Polyvinylidene Fluoride) to manufacture non return valves that offer exceptional resistance to aggressive chemicals, strong acids, alkalis, and fluorinated compounds, ensuring long-term durability.
Precision Engineering & Tight Sealing
Our PVDF non return valves are precision-molded for accurate flow control, quick response, and leak-tight performance, protecting pumps, pipelines, and sensitive equipment from reverse flow.
Designed for Continuous Industrial Operation
Petron Thermoplast valves are engineered to perform reliably in 24/7 process systems, minimizing pressure loss and maintaining consistent flow even under fluctuating operating conditions.
Wide Size Range & Configuration Options
We offer PVDF non return valves in multiple sizes, pressure ratings, and designs (wafer type, spring-loaded, ball type), allowing seamless integration into new and existing piping systems.
